March 10, 2026

جيب تسجل براءة اختراع لنظام ونش مدمج داخل الصندوق الأمامي

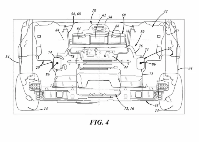
سجلت Jeep براءة اختراع لنظام جديد يدمج ونش السحب داخل الصندوق الأمامي (Frunk) في سيارة Jeep Recon الكهربائية المرتقبة. الفكرة تهدف إلى تقديم حل عملي لمركبات الطرق الوعرة دون التأثير على التصميم الأمامي التقليدي.

النظام المقترح يعكس توجه العلامة الأمريكية إلى تطوير حلول مبتكرة للقيادة على الطرق الوعرة في عصر السيارات الكهربائية.

استغلال المساحة في السيارات الكهربائية

السيارات الكهربائية غالباً ما توفر مساحة إضافية في المقدمة نتيجة غياب المحرك التقليدي. هذا الفراغ يُستخدم عادة كصندوق تخزين أمامي، لكن براءة الاختراع تشير إلى إمكانية استخدامه لاحتواء معدات مخصصة للطرق الوعرة مثل ونش السحب.

دمج هذه المعدات داخل هيكل السيارة قد يحميها من العوامل الخارجية ويمنح السيارة مظهراً أكثر نظافة من ناحية التصميم.

حل مخصص لمغامرات الطرق الوعرة

الونش يُعد من أهم التجهيزات التي يستخدمها عشاق القيادة على الطرق الوعرة، حيث يساعد على إخراج المركبات العالقة في الرمال أو الطين. وجوده داخل الصندوق الأمامي قد يسهل استخدامه عند الحاجة دون إضافة تجهيزات خارجية كبيرة.

هذا النوع من الحلول يعكس كيفية تكيّف تقنيات السيارات الكهربائية مع متطلبات القيادة الوعرة.

Jeep Recon… خطوة نحو الكهرباء

Recon تُعد واحدة من الطرازات الكهربائية التي تعمل Jeep على تطويرها ضمن خطتها لدخول عالم السيارات الكهربائية. السيارة تستهدف الحفاظ على قدرات القيادة الوعرة المعروفة لدى العلامة، مع اعتماد نظام دفع كهربائي.

تطوير تجهيزات مثل هذا النظام قد يساعد في الحفاظ على هوية Jeep في فئة الطرق الوعرة حتى مع الانتقال إلى الكهرباء.

ماذا عن أسواق المنطقة؟

في أسواق الشرق الأوسط، تحظى سيارات الطرق الوعرة بشعبية كبيرة، خاصة في البيئات الصحراوية. تقنيات مثل ونش السحب تعتبر تجهيزات عملية في بعض الاستخدامات، خصوصاً لعشاق المغامرات الصحراوية.

مع دخول سيارات الطرق الوعرة الكهربائية إلى السوق، قد تظهر حلول جديدة تجمع بين التقنيات الحديثة ومتطلبات القيادة في التضاريس الصعبة.

خلاصة

براءة الاختراع الجديدة من Jeep تشير إلى طريقة مبتكرة لدمج ونش السحب داخل الصندوق الأمامي في Recon الكهربائية. الفكرة تعكس كيف يمكن للسيارات الكهربائية أن تقدم حلولاً مختلفة لتجهيزات الطرق الوعرة، مع الاستفادة من المساحات الجديدة التي توفرها منصات الدفع الكهربائية.

أهم المقالات