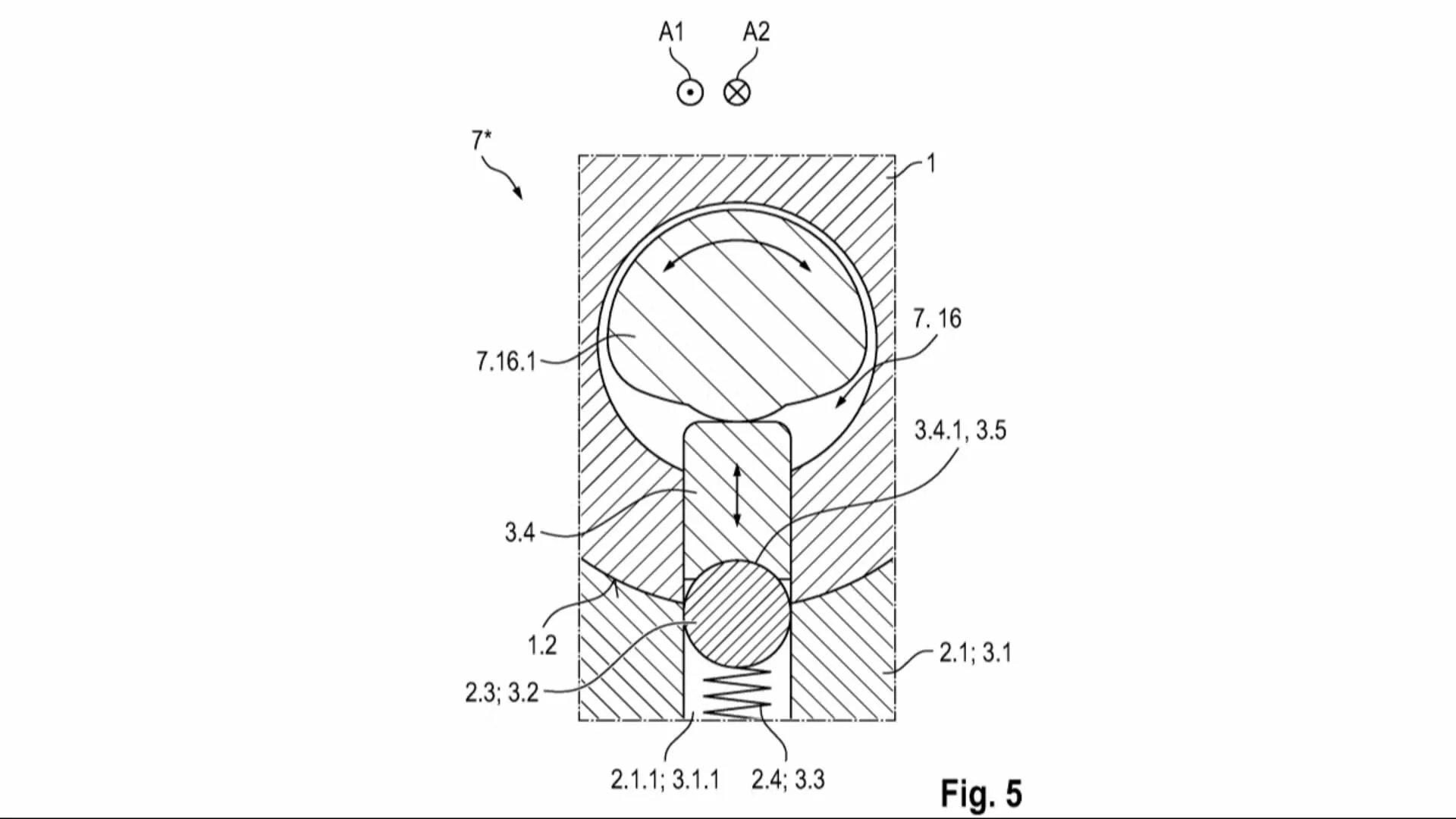
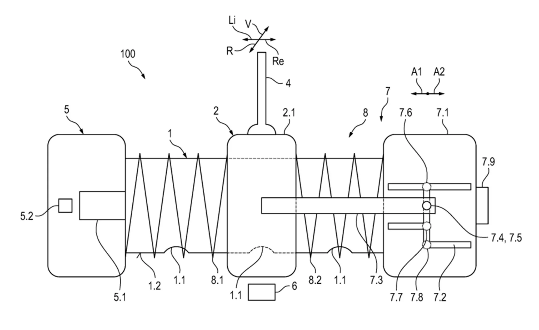
فكرة جديدة لناقل الحركة
سجّلت Porsche براءة اختراع لنظام ناقل حركة جديد يجمع بين خصائص القير اليدوي والأوتوماتيكي. الفكرة تقوم على تقديم تجربة قيادة تفاعلية تشبه القير اليدوي، مع الحفاظ على سهولة الاستخدام التي توفرها الأنظمة الأوتوماتيكية الحديثة.
تجربة قيادة تفاعلية
النظام يهدف إلى إعادة الإحساس بالتحكم للسائق، من خلال إدخال عناصر تحاكي تبديل السرعات اليدوي، ولكن دون الحاجة إلى استخدام القابض (clutch) بالشكل التقليدي. هذا التوجه يعكس رغبة Porsche في الحفاظ على متعة القيادة في عصر الأنظمة الرقمية.
بين الأداء والراحة
في الوقت الذي تتجه فيه معظم الشركات نحو النواقل الأوتوماتيكية أو الكهربائية بالكامل، تحاول Porsche إيجاد توازن بين الأداء والتجربة. النظام الجديد قد يقدّم خيارًا يجمع بين سرعة الاستجابة والكفاءة، مع الإحساس التقليدي الذي يفضّله بعض السائقين.
هل نراه قريبًا؟
حتى الآن، تبقى هذه التقنية ضمن إطار براءة الاختراع، ما يعني أنها قد لا تصل مباشرة إلى الإنتاج. لكنها تعكس توجهًا واضحًا من Porsche للحفاظ على هوية القيادة، خاصة مع التحول نحو السيارات الكهربائية.
ماذا يعني ذلك للسوق؟
إذا تم تطوير هذا النظام فعليًا، فقد يشكّل حلًا وسطًا بين القير اليدوي التقليدي والأنظمة الحديثة، خصوصًا في السيارات الرياضية. وهو ما قد يلقى اهتمامًا في أسواق مثل الشرق الأوسط، حيث ما زال هناك شغف واضح بتجربة القيادة الكلاسيكية.



